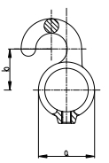
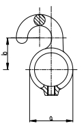
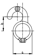
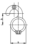
Ductile iron pipe connectors | Clamping rings / Flanges
// Wenn Rohre festen Halt brauchen – an Wand, Boden oder Konstruktion
Filter products
-
pipe connector
- Malleable cast iron pipe fittings | T-pieces
- Malleable cast iron pipe connectors | Elbows
- Malleable cast iron pipe fittings | Cross pieces
- Malleable cast iron pipe connectors | Wall brackets / Base plates
- Malleable cast iron pipe connectors | Handrails
- Malleable cast iron pipe connector | Adjustable angle
- Ductile iron pipe connectors | Clamping rings / Flanges
- Ductile iron pipe connectors | Elbows
- Malleable cast iron pipe connectors | Extension pieces
- Malleable cast iron pipe coupling | Variable diameter
- Malleable cast iron pipe connectors | Accessories
-
Stainless steel components
- Plate holder
- Glass and panel holders
- Glass clamps
- Glass balustrade
- Glass holder
-
Stainless steel railing
- Cover plates | Post caps
- Anchor plates
- Spacers
- Balustrade posts | Post fixings
- Handrail bracket
- Handrail supports
- mounting plate
- Support pins for handrail brackets
- carrying handle
- LED stainless steel handrail
- Crossbar bracket
- pipe plug
- Post caps
- Klöpper heads, stainless steel
- Ronden
-
pipe bend
- 90-degree elbow (welded fittings, Type 3 DIN)
- 45-degree elbow (welded fittings, type 3 DIN)
- 180-degree elbow (welded fittings, Type 3 DIN)
- 90-degree elbow (welded fittings, Type 2 DIN)
- 90-degree elbow (welded fittings, type 5)
- Elbows, special angles, welded fittings
- 90-degree elbow weld fittings
- T-piece welded fittings
- Connector for welded fittings
- Cross fittings
- Connectors
- Trim parts
- Wall anchor | Floor anchor
- Clamping profile
- Glass and door systems
- Balls | Cones | Cubes
- Stainless steel tubes | Bar stock
- Grooved pipes
- Push-fit fittings / End caps for grooved pipes
- Home | Garden
- Door construction | Door locks | Door handles
- Stainless steel cables | Cable clamps | Accessories
- Marine | Boat supplies
- Accessories | Screws | Adhesives
- Exhibition stand construction
- Black Lane – Powder-coated stainless steel parts
- Sliding glass door
- BRENK-fix® Base Holder
-
wrought iron
- Caps
- Anchor plates
- Weld-on strips
- Weld-on brackets
- Baroque programme
- letters
- Drive-in plug
- Flat-rolled steel, unworked
- Handrail brackets + accessories
- House numbers
- balls
- Plastic handrails
- Rings | Crosses
- Ronden
- Locks | Door handles | Other accessories
- Bar stock
- pipe bend
-
Door hinges
- Gate hinge with welded sleeve
- Door hinge with slotted plate
- Door hinge with a long thread
- Door hinges, 4-way adjustable
- Self-closing gate hinges
- Threaded sleeves for gate hinges – spares & accessories
- with a weld-on plate
- Up-and-over door fittings
- Adjustable wall plates for gate hinges
- Brass washers for hot-dip galvanised gate hinges
- Eye bolts, sold individually, for gate hinges
- for embedding in concrete
- with a hinged flap
- with a wall plate
- Fence posts
- fence posts
- Decorative strips
- Enamel and paints
- Blacksmithing Basic Line
-
Grating steps
-
Grating
-
Marine | Boat accessories
-
Sliding gate fittings
- Sliding gate fitting 0 | Gate weight per leaf up to 90 kg
- Sliding gate fitting 1 | Gate weight per leaf up to 200 kg
- Sliding gate fitting 2 | Gate weight per leaf up to 400 kg
- Sliding gate fitting 3 | Gate weight per leaf up to 600 kg
- Sliding gate fitting 4 | Gate weight per leaf up to 1200 kg
- Sliding gate fitting 5 | Gate weight per leaf up to 2000 kg
- Full range
- Fits all sizes 1 to 5
- Cast iron rollers for sliding gates
- New arrivals
- Neon sign
-
Sealing plugs and protective caps
Filter products
Available, : Lieferzeit 5-10 Werktage
Available, : Lieferzeit 5-10 Werktage
Available, : Lieferzeit 5-10 Werktage
Available, : Lieferzeit 5-10 Werktage
Available, : Lieferzeit 5-10 Werktage
Available, : Lieferzeit 5-10 Werktage
Available, : Lieferzeit 1-2 Werktage
Available, : Lieferzeit 5-10 Werktage
Available, : Lieferzeit 1-2 Werktage
Available, : Lieferzeit 5-10 Werktage
Available, : Lieferzeit 1-2 Werktage
Available, : Lieferzeit 1-2 Werktage